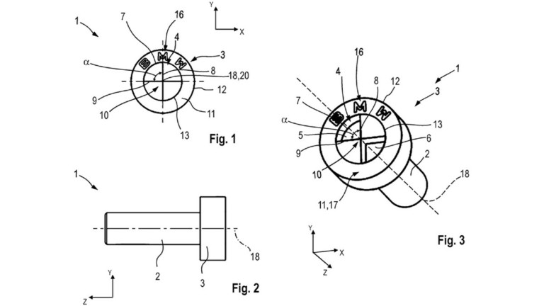
Μια φαινομενικά μικρή τεχνική λεπτομέρεια μπορεί να αλλάξει ριζικά τον τρόπο με τον οποίο συντηρούν τις μοτοσικλέτες οι ιδιοκτήτες BMW Motorrad. Οι Γερμανοί κατέθεσε πρόσφατα πατέντα για έναν νέο τύπο βιδών, οι οποίες αντί για τις κλασικές κεφαλές άλεν ή τόρξ, φέρουν σχεδίαση εμπνευσμένη από το εμβληματικό «έλικα» της μάρκας.
Στην πράξη, οι νέες βίδες έχουν ανάγλυφο το λογότυπο BMW και δύο βαθιές εγκοπές στα σημεία όπου βρίσκονται συνήθως τα μπλε τμήματα του σήματος. Για τη σύσφιξη ή χαλάρωσή τους απαιτείται ειδικό εργαλείο, αποκλειστικά σχεδιασμένο για τη συγκεκριμένη κεφαλή, το οποίο, προφανώς, δεν υπάρχει σε ένα τυπικό σετ εργαλείων.
Η κίνηση αυτή έχει ήδη προκαλέσει συζητήσεις, ειδικά μεταξύ των φίλων της μοτοσικλέτας και όσων ταξιδεύουν ή συντηρούν μόνοι τους τα οχήματά τους. Σε ένα σενάριο βλάβης μακριά από συνεργείο, τα καθιερωμένα εργαλεία ενδέχεται να αποδειχθούν άχρηστα, μετατρέποντας μια απλή επισκευή σε σοβαρό πρόβλημα.
Αρκετοί βλέπουν πίσω από την πατέντα μια στρατηγική που θα μπορούσε να κατευθύνει περισσότερους ιδιοκτήτες προς τα επίσημα συνεργεία, αποθαρρύνοντας τις ανεξάρτητες επισκευές. Αν και θα υπάρξουν ειδικά εργαλεία στην αγορά, το κόστος τους αναμένεται υψηλό.
Προς το παρόν, οι συγκεκριμένες βίδες βρίσκονται μόνο στο στάδιο της πατέντας και δεν έχουν περάσει στην παραγωγή. Αν όμως τελικά υιοθετηθούν, η συντήρηση μιας BMW στο σπίτι ίσως γίνει απαγορευτική.
ΕΙΔΗΣΕΙΣ ΣΗΜΕΡΑ:
Κάπως έτσι θα είναι η μοτοσικλέτα του επόμενου Blade Runner
Πιο… MotoGP Panigale δεν γίνεται!
Ποιες Ducati θα αγοράσεις μέχρι τέλος της χρονιάς με μειωμένη τιμή;



