Η Honda φαίνεται πως ενισχύει περαιτέρω το οπλοστάσιό της στον τομέα της ενεργητικής ασφάλειας, εξελίσσοντας ένα καινοτόμο σύστημα ελέγχου στροφής για μοτοσικλέτες, το οποίο φιλοδοξεί να προλαμβάνει πτώσεις και συγκρούσεις πριν αυτές γίνουν αναπόφευκτες.
Η ιαπωνική εταιρεία έχει καταθέσει τη σχετική ευρεσιτεχνία στον Παγκόσμιο Οργανισμό Πνευματικής Ιδιοκτησίας (WIPO), περιγράφοντας μια τεχνολογία που βασίζεται σε λύσεις ήδη γνωστές από τα αυτοκίνητα, αλλά επανασχεδιασμένες πλήρως ώστε να ανταποκρίνονται στις απαιτήσεις των δύο τροχών. Σε αντίθεση με τα τετράτροχα, η μοτοσικλέτα εξαρτάται άμεσα από τη γωνία κλίσης, την ισορροπία και τις κινήσεις του αναβάτη, στοιχεία που καθιστούν την πρόβλεψη κινδύνου πολύ πιο σύνθετη.
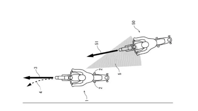
Σύμφωνα με την πατέντα, το σύστημα είναι σε θέση να παρεμβαίνει στο τιμόνι όταν εντοπίζεται αυξημένη πιθανότητα σύγκρουσης και ταυτόχρονα καθυστερημένη ή ακατάλληλη αντίδραση από τον αναβάτη. Η φιλοσοφία του δεν είναι να αφαιρέσει τον έλεγχο, αλλά να λειτουργήσει υποστηρικτικά, αποτρέποντας απότομες κινήσεις πανικού που συχνά οδηγούν σε απώλεια πρόσφυσης ή πτώση.
Η νέα αυτή τεχνολογία έρχεται να «κουμπώσει» με προηγμένα συστήματα υποβοήθησης που η Honda έχει ήδη παρουσιάσει, όπως προειδοποιήσεις αλλαγής λωρίδας, αντιμετώπιση πλευρικού ανέμου και συστήματα τυφλού σημείου. Το ενδιαφέρον στοιχείο είναι ότι το σύστημα δεν ανιχνεύει μόνο οχήματα που δεν βλέπει ο αναβάτης, αλλά και περιπτώσεις όπου η ίδια η μοτοσυκλέτα βρίσκεται εκτός οπτικού πεδίου άλλων οδηγών.
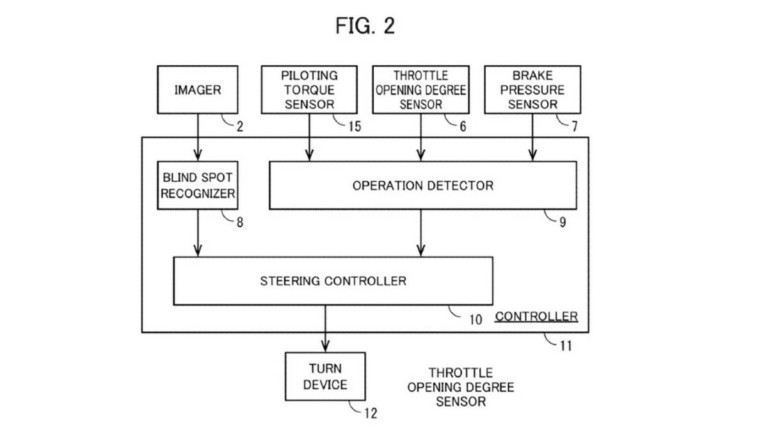
Για να λειτουργήσει, απαιτείται συνδυασμός εμπρός και πίσω ραντάρ, καμερών και αισθητήρων, δημιουργώντας ένα πλήρες ψηφιακό «δίχτυ» επίγνωσης του περιβάλλοντος. Όταν εντοπιστεί κίνδυνος, η υποβοήθηση στο τιμόνι ενεργοποιείται προοδευτικά, επιτρέποντας ομαλές διορθώσεις πορείας.
Αν και η εφαρμογή της τεχνολογίας αυτής έρθει στην παραγωγή μένει να φανεί, είναι σαφές ότι η Honda συνεχίζει να επενδύει σε λύσεις που δεν περιορίζονται στη μείωση των συνεπειών ενός ατυχήματος, αλλά στοχεύουν ξεκάθαρα στην πρόληψή του. Ένα βήμα πιο κοντά σε ένα ασφαλέστερο μέλλον για τους αναβάτες.
ΕΙΔΗΣΕΙΣ ΣΗΜΕΡΑ:
Κάπως έτσι θα είναι η μοτοσικλέτα του επόμενου Blade Runner
Πιο… MotoGP Panigale δεν γίνεται!
Ποιες Ducati θα αγοράσεις μέχρι τέλος της χρονιάς με μειωμένη τιμή;



