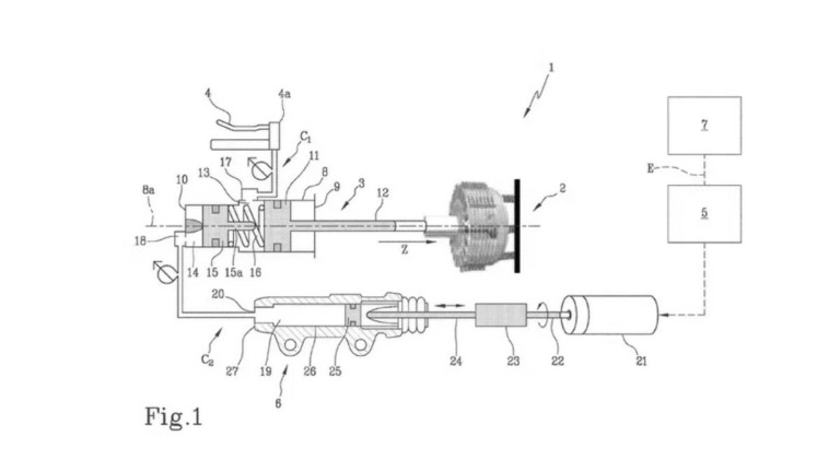
Η Ducati φαίνεται πως ετοιμάζεται να εισέλθει στον κόσμο των ημιαυτόματων κιβωτίων ταχυτήτων, ακολουθώντας παραδείγματα όπως της Honda, BMW Motorrad, KTM και Yamaha. Πρόσφατες πατέντες αποκαλύπτουν ότι η εταιρεία από την Μπολόνια αναπτύσσει το δικό της ηλεκτρονικά υποβοηθούμενο σύστημα συμπλέκτη.
Στην περίπτωση της Ducati φαίνεται πως οι Ιταλοί δεν πάρει για ένα πλήρες αυτόματο κιβώτιο, αλλά θα ασχοληθούν με έναν αυτοματοποιημένο συμπλέκτη. Από τα σχέδια φαίνεται ένα σύστημα που χρησιμοποιεί ηλεκτρομηχανικό μηχανισμό ενεργοποίησης για τον έλεγχο του συμπλέκτη, χωρίς να καταργεί τον παραδοσιακό λεβιέ ταχυτήτων.
Το σύστημα της Ducati μοιάζει πολύ με το ήδη διαθέσιμο E-Clutch της Honda, το οποίο επιτρέπει στον αναβάτη να αλλάζει ταχύτητες κανονικά ή να αφήνει τη μοτοσικλέτα να διαχειρίζεται τον συμπλέκτη αυτόματα. Αντίστοιχα, το σύστημα της Ducati φαίνεται να διατηρεί τον λεβιέ ταχυτήτων, πιθανότατα ενεργοποιώντας τον συμπλέκτη μέσω πίεσης στη μανέτα, όπως γίνεται με το κλασικό quickshifter.
Δεν είναι ακόμα ξεκάθαρο αν το σύστημα θα προσφέρει πλήρη αυτόματη λειτουργία, όπως τα DCT της Honda ή τα Y-AMT της Yamaha, όπου απουσιάζουν τόσο ο λεβιές όσο και ο συμπλέκτης. Ωστόσο, όλα δείχνουν πως η Ducati θα διατηρήσει τον παραδοσιακό τρόπο οδήγησης, ενσωματώνοντας την τεχνολογία με τρόπο που δεν αλλοιώνει το DNA της.
ΕΙΔΗΣΕΙΣ ΣΗΜΕΡΑ:
Πιάστηκε στα… πράσα η επόμενη γενιά Triumph Tiger 900
MotoGP: Ο κλέφτης ήταν ντυμένος μηχανικός της KTM
Έτσι θα κάνεις… τούμπανο το CFMoto σου



